Home > Rubriky a sekce > Technika > Článek
Zatímco ostatní oznamují přechod na elektřinu, Mazda pracuje na velmi neobvyklém spalovacím motoru
10.2.2022 | Petr Prokopec
Japonci znovu potvrzují, že jsou automobilkou kráčející proti proudu, neboť zatímco jiní oznamují konec vývoje spalovacích jednotek, Mazda zkouší oživit staré nápady v nové podobě. Zda ovšem uspěje, je otázkou.
V kurzu je dnes oznamovat konec vývoje spalovacích motorů a naplno se oddat závazku nabízet od toho či onoho data jen elektrické pohony. Přijde nám to nesmyslné a nakonec i nerealizovatelné, neboť nejde ani o technicky jednoznačně nadřazené řešení. A i kdyby se jej podařilo v zemích Evropské unie politicky nařídit, EU pořád není Evropa a Evropa není celý svět. Představa, že si zákazníci na Sibiři, v Nigérii a nakonec klidně i ve Spojených státech za pár jednotek let vybírají jen z elektrických pohonů je hloupá i směšná současně. Něco takového se v žádném případě nestane.
Přesto mnohé automobilky tímto směrem s vážnou tváří míří - některé oficiálně, jiné zatím potají. Ty moudřejší se elektromobilům nevyhýbají, neboť na některých trzích skutečně může být cokoli jiného zakázáno či daňovými systémy postaveno mimo hru, současně ale nezapomínají ani na jiná řešení, která se jinde mohou uplatňovat ještě dekády. Jedním z tradičních jmen mezi značkami kráčejícími proti proudu je Mazda, která se nejnověji rozhodla oprášit myšlenku dvoutaktního motoru v dosud nepoznané podobě.
Na takové motory dnes narazíte víceméně jen u sekaček na trávu, motorových pil či maximálně motocyklů. Automobilová branže se jich nicméně zřekla, přestože dokáží být ve specifických otáčkách díky polovičnímu počtu pracovních cyklů účinnější. Celkově tomu tak ale není, hlavní problém je ovšem s emisemi. Není tedy překvapivé, že výrobci v době definované všemožnými snahami o emisní čistotu tímto směrem nemíří, Mazda nicméně vždy kráčela proti proudu. A nejinak je tomu i tentokrát.
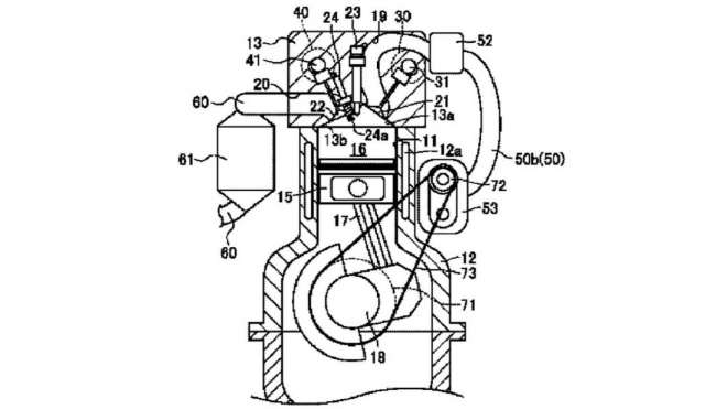
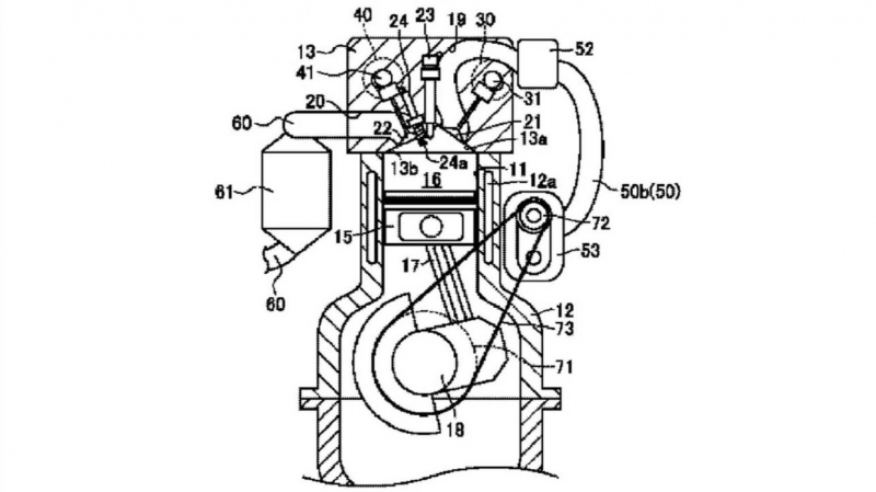
Nákresy z amerického patentového úřadu totiž dokazují, že Japonci se dvoutaktem skutečně zabývají, jakkoli není jasné, jaké s ním mají záměry. Pohonná jednotka ale může nakonec posloužit i autům, neboť jak se zdá, automobilka dokázala vyřešit problémy s nízkou účinností v problematických spektrech otáček resp. při nižši´zátěži. A to i díky zkušenostem, které se naučila při vývoji motoru SkyActiv-X známému jako „diesel na benzin“.
Dvoutakt tedy při nižší zátěži, kdy je jinak málo efektivní, používá stejně jako dieselové jednotky princip samovznícení, nicméně jakmile šlápnete na plyn, vloží se do hry také svíčka, kdy naopak využívá přirozených výhod dvoutaktu. Mazda přitom sází na variabilní časování ventilů, díky čemuž byl zachován vysoký kompresní poměr. Časování se totiž mění ve chvíli, kdy dochází k použití svíčky, což redukuje kompresní poměr a tedy zamezuje klepání. Mimo to pak byl použit kompresor, s nímž se měla dále snížit spotřeba.
Jak se vše vyvine dále, je ve hvězdách. Mazda není aktivní jen na tomto poli, dále se zabývá i Wankely, přičemž dle posledních nákresů by mohla použít hybridní třírotor. Zda ale dojde na jeho výrobu, je otázkou, dvoutakt by nakonec mohl mít větší šance než rotační jednotka. I jeho výhodou je menší počet komponentů a tudíž nižší hmotnost. A jelikož během jedné otáčky klikové hřídele dojde k celému cyklu, máme tu také vyšší výkon. Výhod tedy není málo, a pokud Mazda vyřešila nevýhodu v podobě vyšších emisí, pak by nás japonská automobilka ještě mohla hodně překvapit. Nebylo by to ani poprvé, ani naposledy.





Mazda si patentovala zcela nově řešený dvoutaktní motor. Zda jej ale skutečně nasadí ve svých vozech, je pro tuto chvíli ve hvězdách. Foto: United States Patent And Trademark Office, CC0 Public Domain
Zdroj: United States Patent And Trademark Office
Bleskovky
Dražba cenných aut slavné aukční firmy se proměnila v demoliční derby poté, co jednomu z jejích řidičů „ujela noha”
před 2 hodinami
Nástupce tragicky zesnulého Kena Blocka se pochlubil novou brutalitou točící 9 500 otáček i s turbem, natočil s ním další Gymkhanu
včera
Srovnání hned tří moderních Porsche bez turba vám zapěje fascinující „vosí árii”, chybu neuděláte ani s jedním z nich
4.11.2025
Nejnovější články
Dražba cenných aut slavné aukční firmy se proměnila v demoliční derby poté, co jednomu z jejích řidičů „ujela noha”
před 2 hodinami
Mercedes se zpožděním začal prodávat nové CLA i se spalovacími motory. Tristní techniku z Číny doprovází ještě tristnější ceny
před 3 hodinami
A tak se to prostě stane: Automobilka odpískala příchod hned dvou hotových elektrických modelů pro nezájem
před 4 hodinami
Nechvalně proslulý německý tuner se vyřádil na novém BMW M5, ale asi to vzal za špatný konec. Teď vypadá jako Honda Civic
včera
Vážně to není „my proti nim”? Opravdu jsou lidé vyvíjející elektrická a spalovací auta stejní nadšenci, jen pracují s „jiným materiálem”?
včera
Živá témata na fóru
- Policejní kontroly a měření 11.06. 10:18 - bojler
- Rychlodotazy 11.06. 10:02 - řidičBOB
- Má někdo zkušenost s nákupem ojetého auta z Německa přes malého dovozce? 11.06. 09:48 - lylybrown
- Řidiči, co to mají v ruce... 11.05. 20:57 - abgx1
- Lampárna (stěžovatelna) 11.05. 20:41 - řidičBOB
- BMW Divize 11.05. 10:19 - pavproch
- Zimní/letní? Už máte přezuto? 11.04. 18:24 - Stepan
- Dříve M135i, nyní ///M2 11.04. 14:02 - Snowman000
