Home > Rubriky a sekce > Technika > Článek
Mercedes si patentoval vodní chlazení... pneumatik. K čemu to bude dobré?
30.6.2016 | Marek Bednář | Přidat příspěvek
Mercedes chce pneumatiky chladit vodou, kterou posbírá z tajícího sněhu a deště do nádržky. Cílem kupodivu není snížení emisí jakéhokoli druhu.
Vodou resp. kapalinou se motory v autech chladí už dlouho, ty vzduchem chlazené jsou až na drobné výjimky minulostí. Jenže motor pochopitelně není tím jediným, co se v autě zahřívá. Dalšími věcmi jsou mj. pneumatiky, proto se také tlak v nich měří před jízdou. Pneumatiky se ovšem mohou i přehřát, zejména když jedete ostře za horkého dne - tím se dále zhoršují jejich vlastnosti a zkracuje jejich životnost.
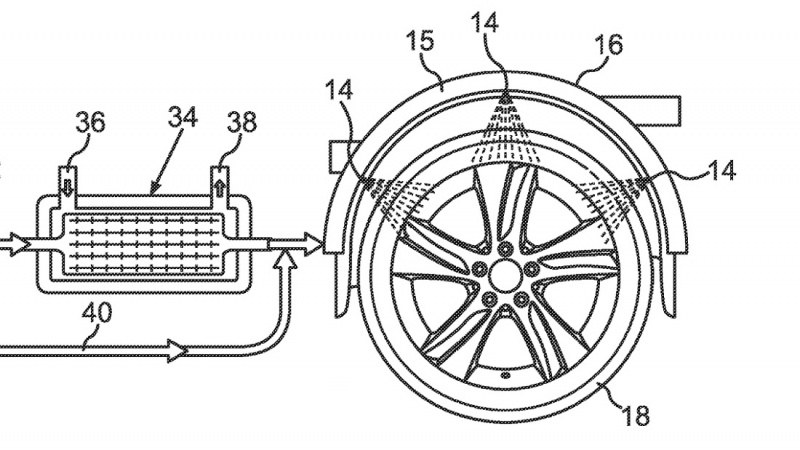
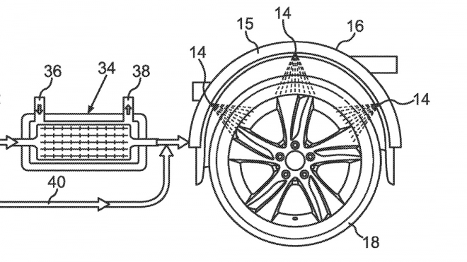
Mercedes nyní přichází s nápadem, jak pneumatiky cíleně chladit, resp. přesněji - kontrolovat jejich teplotu. A nechce k tomu používat vzduch, nýbrž vodu. Nečekejte ovšem kanálky v běhounu, kterými by proudila chladicí kapalina, patentový obrázek ukazuje rozprašovače, které by na pneumatiku zvenčí prostě stříkaly obyčejnou vodu z nádržky. Něco jako ostřikovače skla, jen ne s účelem čištění, nýbrž kvůli chlazení.
Něco takového jistě zvedne nejedno obočí, protože mokrá pneumatika má horší přilnavost než suchá. Vody by zde ovšem nejspíš nebylo moc a pravděpodobně by se hned odpařila, takže by přilnavost pneumatik nezhoršila. Ale to je jen náš předpoklad.
Dalším zlepšovákem by byla možnost pneumatiky vodou nejen chladit, ale i zahřívat, či spíše pomocí teplé vody odstraňovat z pneumatiky sníh a led při jízdě v zimě. Voda pro ostřikování pneumatiky by byla zahřáta chladicí kapalinou motoru. Systém by měl vlastní senzory teploty pneumatik a spolupracoval by i s dalšími čidly, takže by se choval jinak v případě deště a jinak, když by bylo sucho.
To stále není všechno. Mercedes navrhuje, že by do tohoto systému nemusela být tankována pitná voda či nemrznoucí směs, nýbrž by byla využívána „odpadní” voda - roztátý sníh či déšť z předního i zadního okna by údajně mohl být veden potrubím do nádržky na vodu pro tento systém. Otázkou může být, jak bude zajištěno nezamrzání potrubí a nádržky, když bude venku mráz a uvnitř bude voda zcela nebo téměř bez nemrznoucích přísad. Vyhřívat všechno celou noc by bylo velmi náročné na baterii a nechat to zamrznout nelze, protože by mohlo dojít k poškození.
Hlavním přínosem tohoto systému má být lepší bezpečnost jízdy, nikoliv 0,72 g CO2/km v NEDC nebo podobné zanedbatelné zlepšení emisí. Na patentovém obrázku vidíme Mercedes třídy E minulé generace, takže automobilka na chlazení pneumatik asi už nějakou dobu pracuje. Jestli ho ale někdy uvidíme v sériové výrobě, je přinejmenším sporné.

Mercedes chce sbírat vodu z deště a pak jí chladit pneumatiky
Zdroj: Motor1
Diskuze Přidat příspěvek
Bleskovky
Srovnání hned tří moderních Porsche bez turba vám zapěje fascinující „vosí árii”, chybu neuděláte ani s jedním z nich
včera
Porsche si nechalo patentovat nový jízdní režim, který působí jako aprílový žert, je ale míněn smrtelně vážně
2.11.2025
Nejsilnější a nejrychlejší VW Golf GTI má svou cenu, „lidová” je asi tak jako cifry na kabelkách od Diora
31.10.2025
Nové na MotoForum.cz
- Grand Prix se vrací do Evropy včera 09:57
- Joe Roberts mimo hru v Portimãu a Valencii, Xabi Zurutuza jako náhrada včera 08:00
- Miguel Oliveira: Poslední domácí závod v MotoGP? 3.11.2025
- Hakim Danish místo Yamanaky 3.11.2025
- Marquez je o 2 kroky vpřed před ostatními 2.11.2025
Nejnovější články
Dacia chystá nový kombík, který se postaví i drahým verzím Škody Octavia, stát má vedle nich pakatel
před hodinou
Nový Renault Twingo kompletně odhalil únik ještě před premiérou. Vypadá skvěle, v nitru ale skrývá nepříjemné překvapení
před 2 hodinami
Vážně to není „my proti nim”? Opravdu jsou lidé vyvíjející elektrická a spalovací auta stejní nadšenci, jen pracují s „jiným materiálem”?
včera
Sbírka zesnulého milovníka italských aut fascinuje svou pestrostí, takto lakovaná Ferrari si nenechal dělat nikdo jiný na světě
včera
Hledáte nejpohodlnější autosedačku pro vaše děti? Už jste ji našli, jmenuje se Thule Palm
včera
Tiskové zprávy
- Mio MiSentry 12T, tříkanálová autokamera, k níž se připojíte na dálku, pošle vám upozornění a ukládá videa do cloudu
tisková zpráva - MIO uvedlo speciální SD karty pro enormní zátěž v autokamerách
tisková zpráva - Mio MiVue R850T: zrcátková autokamera s 2.5K, antireflexním dotykovým displejem a zadní kamerou
tisková zpráva - Mio MiVue C545: moderní verze 60snímkové autokamery s HDR nočním režimem
tisková zpráva - OMV a Pražská energetika otevřely společně 40. nabíjecí stanici pro elektromobily na odpočívce Mikulášov
tisková zpráva - Mio MiVue C588T: duální autokamera s pozoruhodným natáčením i ve tmě
tisková zpráva
